在变频器、逆变器和电源管理系统中,电流检测是一个绕不开的核心环节。电机需要知道当前电流才能实现精确转矩控制,电源需要监控电流才能实现过流保护,储能系统需要测量电流才能计算电池荷电状态。
传统电流检测方案中,分流电阻加隔离运放的方案虽然精度高,但面临共模干扰和信号延迟的挑战;而电流互感器虽简单可靠,却无法测量直流分量,带宽也受限;分立霍尔方案则依赖额外磁芯与复杂装配,系统一致性与集成度难以兼顾。
而MT9523系列产品(下文简称MT9523),作为麦歌恩(现属纳芯微)继MT9223系列之后推出的新一代全集成隔离线性霍尔电流传感器芯片,集成整个电流检测链路,以极简架构实现高精度、高抗扰、高可靠的交直流电流检测,适配工业、通信、新能源领域的电力电子系统设计需求。

一、化繁为简
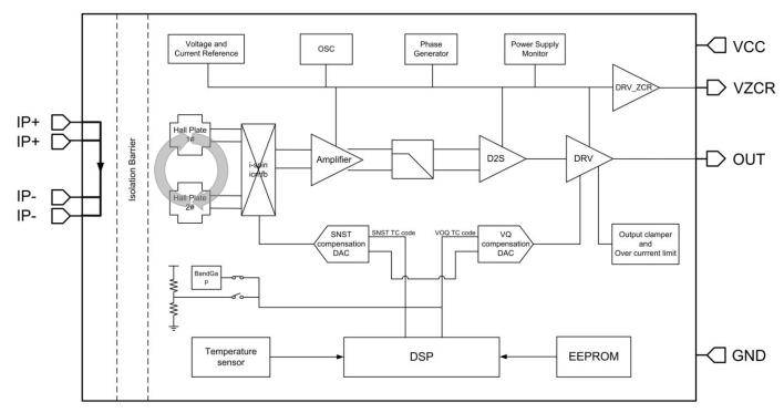
在MT9523的数据手册中,能看到一个与众不同的内部框图:从引脚1和2到引脚3和4,是一条直接穿过芯片内部的低电阻电流路径。

功能框图
MT9523内部核心由采用CMOS工艺的霍尔芯片构建的低偏移斩波稳定型线性霍尔电路、内置低插入电阻的电流导体路径、信号调理与温度补偿单元构成,基于霍尔效应原理,将流经芯片的电流产生的磁场,线性转换为与输入电流成比例的电压输出信号。
在传统方案中,工程师需要设计电流采样电阻的布局、考虑开尔文连接的走线、处理隔离放大器的电源和信号隔离。而在MT9523的方案中,被测电流直接流过芯片,霍尔传感元件就集成在这条电流路径的正上方。这种一体化设计带来了多重收益:
首先,寄生参数最小化:由于电流路径与传感电路在芯片内部已经优化完成,无需担心PCB布线引入的额外电感和电阻,系统的稳定性和一致性显著提高。
其次,空间占用缩减:一个SOP-8封装即可完成隔离电流检测的全部功能,相比分立方案,PCB面积可大幅缩减。
同时,设计周期缩短:免去采样电路与隔离放大器的匹配调试,仅需参考推荐电路即可完成设计落地。
二、低阻抗哲学
在电力电子系统中,电流检测环节有一个常被忽视的指标:插入损耗。每个串联在功率路径上的元件都会产生功耗,这些功耗最终转化为热量,降低系统效率。
而MT9523的内部导体电阻典型值为1.0mΩ,可实现低功耗。如果以50A额定电流计算,那么芯片自身产生的功耗仅为2.5W。若采用传统分流电阻方案,即使选择高成本的精密合金电阻,也很难做到阻值1mΩ以下的同时保持足够的功率容量和温漂特性。
同时,MT9523低电阻带来的热量均匀分布在芯片内部,通过SOP-8封装的多个引脚传导至PCB,散热路径短切热阻低。相比之下,大功率分流电阻往往需要额外的散热片或强制风冷,进一步增加了系统复杂度和成本。
三、差分双霍尔
电力电子系统本身就是巨大的电磁干扰源。IGBT的高频开关动作产生陡峭的dv/dt,功率回路辐射的电磁场,而电流传感器恰恰需要在这种恶劣的环境中精确工作。
MT9523应对这一挑战的方案是采用差分电流传感技术,芯片内部集成了两个霍尔元件,它们对被测电流产生的磁场反向响应,但对环境中的共模干扰磁场同向响应。通过差分求和,芯片能够有效抵消杂散磁场干扰,精准提取有效电流信号,共模磁场抑制比(CMFRR)典型值达40dB,优化了磁信噪比。
这种设计在实际应用中意义重大。在电机驱动系统中,相邻功率线产生的杂散磁场可达数十高斯,足以让普通霍尔传感器产生显著误差。而MT9523能够在这些干扰中保持±0.3%的线性度。
四、高速响应与全温稳定
现代电力电子控制系统的核心在于“实时”,无论是电机控制的电流环,还是数字电源的快速响应,都要求电流检测环节具有足够的带宽和响应速度。
MT9523的典型响应时间为2.2us,信号带宽达250kHz。在20kHz开关频率的电机驱动器中,一个开关周期为50us,2.2us的响应时间意味着电流检测环节只占用开关周期的4.4%,可留给控制器充足的时间进行采样、计算和PWM更新。同时,更快的响应速度也允许采用更高的控制带宽,从而提升系统的动态性能。
不同电子设备所面对的工作环境不同,而MT9523的工作温度范围覆盖-40℃~150℃,通过斩波稳定技术消除霍尔元件温漂导致的零点偏移,同时每颗芯片均经过多温度点校准与内置温度补偿电路优化,将芯片的中值电压以及灵敏度的温漂控制在非常小的误差范围内。其在全温域范围内的典型线性度可保持在±0.3%,对于需要在宽温度范围内保持精度的应用,如电动汽车驱动系统或户外光伏逆变器,这一特性至关重要。
五、输出灵活,多元量程
不同应用场景对电流检测信号的输出形式有不同的偏好。有的系统采用传统的比例输出,将检测信号与电源电压相关联;有的系统则偏爱固定输出,以简化ADC参考设计。MT9523则提供丰富的产品配置,在支持3.3V/5V供电的同时,提供比例输出及固定输出两种不同的输出方式(供电与输出之间可随意搭配)。
而不同功率等级则需要不同的电流检测量程。就如5A的伺服驱动器与50A的变频器,对电流传感器的量程要求截然不同。MT9523灵活的输出,配合内置的电流回路,可轻松实现0A~±50A的电流检测应用,工程师可根据实际功率需求选择最合适的型号:
- 双向:±5A、±10A、±15A、±20A、±25A、±30A、±40A、±50A;
- 单向:+10A、+20、+30A。
MT9523不同量程版本的灵敏度则与量程成反比,如MT9523CT-05BR5(±5A)灵敏度为400mV/A,MT9523CT-50BR5(±50A)灵敏度为40mV/A。这种设计使得不同量程版本在满量程时的输出电压范围基本一致,简化了后级电路的设计。
六、安全设计
在工业应用中,电流传感器往往承担着高低压之间的隔离屏障作用。传感器的隔离能力直接关系到低压控制侧的安全。
MT9523通过了UL相关安规认证准备,提供2.5kVrms/1min的隔离耐压,最大工作隔离电压可达450Vrms/636VDC。其导电路径的端子(引脚1至4)与信号线(引脚5至8)之间电气隔离,可直接用于高端电流检测,无需其他隔离技术。同时,4.2mm的电气间隙和爬电距离符合加强绝缘的要求,耐受6kV雷击浪涌冲击,故障工况下可为低压侧提供充足的防护。
并且MT9523集成欠压闭锁(UVLO)与上电复位(POR)功能,电源电压异常时可保障输出状态可控,避免误检测导致的系统故障。这些参数和功能不仅保证了在正常工况下的安全运行,更可在故障条件下提供足够的保护。
七、应用版图
MT9523产品的应用领域覆盖了现代电力电子的主要战场:
中低功率变频器是核心应用之一,电机相位电流检测和母线电流监测是其典型应用。MT9523的250kHz带宽和2.2us响应时间完全满足这一需求,±0.3%的线性度保证了力矩控制的精准性。
光伏逆变器和储能系统是另一个重要战场。随着可再生能源的普及,分布式能源对电流检测提出了新的要求:高隔离电压、低功耗、高可靠性。MT9523的UL-ready设计和低插入损耗正好契合这些需求。
充电器和电源转换器领域同样适用。无论是车载充电机还是通信电源,精确的电流检测都是实现高效功率转换和可靠保护的前提。
直流电源的过流保护是相对简单但同样重要的应用。MT9523的快速响应使其能够在故障发生后的微妙级时间内触发保护动作,有效限制故障能量,保护下游电路。
八、结语
传统电流检测方案中,工程师需要关注太多细节:采样电阻的温度系数、隔离放大器的共模抑制比、PCB布局的寄生参数、信号链路的噪声耦合……每一个细节都可能成为项目精度的“拦路虎”。
而MT9523将这些复杂性封装在芯片内部。工程师只需关注几个核心问题:选择什么量程?需要3.3V还是5V供电?比例输出还是固定输出?剩下的工作就是按照数据手册的推荐电路连接电源和输出引脚。
这种“简化思维”让工程师能够将更多精力投入到系统设计创新中,而非重复解决那些已经有成熟解决方案的基础问题。如需了解更多有关MT9523系列产品的信息或申请样品,欢迎联系官方授权代理商:sales@chiplinkstech.com(邮箱),微信公众号:智联微-电机控制芯片,为您提供选型服务与技术支持。
附样品申请

微信公众号

TRINAMIC代理商 步进电机驱动 驱动IC 深圳市智联微电子有限公司






